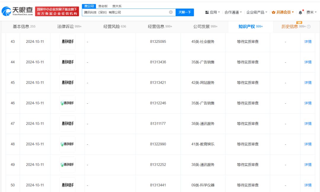
每经AI快讯,天眼查知识产权信息显示,近日,腾讯科技(深圳)有限公司申请注册多枚“腾讯AI助手”商标,国际分类包含社会服务、广告销售、网站服务等,当前商标状态均为等待实质审查。
据悉,今年5月,腾讯发布基于混元大模型的面向C端的ai助手“腾讯元宝”,其提供了AI搜索、AI总结、AI写作等核心能力。

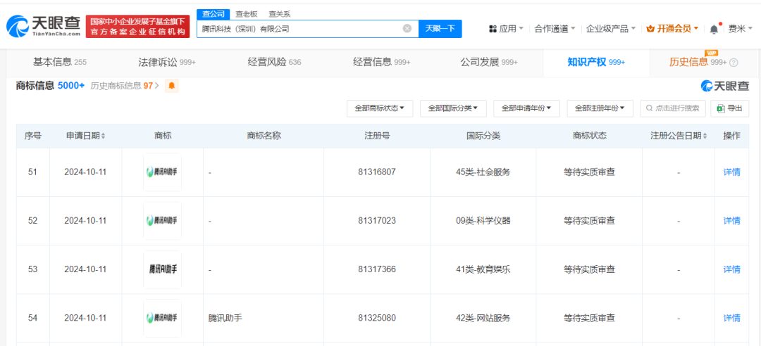
每经AI快讯,天眼查知识产权信息显示,近日,腾讯科技(深圳)有限公司申请注册多枚“腾讯AI助手”商标,国际分类包含社会服务、广告销售、网站服务等,当前商标状态均为等待实质审查。
据悉,今年5月,腾讯发布基于混元大模型的面向C端的ai助手“腾讯元宝”,其提供了AI搜索、AI总结、AI写作等核心能力。
